大阪府型量水器ボックス
| 品番 | 大阪府型量水器ボックス |
|---|---|
| 種類 | 量水器 |
| 材質 | 鋳鉄製 |
| 用途 | その他 |
| 規格 | |
| 備考 | |
| 注記 | |
製品説明
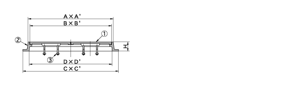
外形寸法図・部品名称表

型式寸法表〔単位mm〕
| 型式 | 使用区分 | 蓋枚数 | D | D' | A | A' | B | B' | C | C' | H | 合計重量kg |
|---|---|---|---|---|---|---|---|---|---|---|---|---|
| 府型-3 | 25~40mm用 | 1 | 435 | 315 | 445 | 325 | 429 | 295 | 485 | 365 | 55 | 16.0 |
| 府型-4 | 50~80mm用 | 2 | 715 | 515 | 735 | 535 | 704 | 504 | 826 | 625 | 80 | 83.0 |
| 府型-5 | 50~80㎜用 | 2 | 715 | 515 | 735 | 535 | 704 | 504 | 826 | 625 | 80 | 83.0 |
| 府型-6 | 100~150㎜用 | 2 | 1105 | 715 | 1130 | 740 | 1094 | 704 | 1245 | 855 | 100 | 210.0 |
部品名称表
| 番号 | 部品名称 | 材質 | 表面処理・備考 |
|---|---|---|---|
| ① | 蓋 | FC200 | 防錆塗装 |
| ② | 受枠 | FC200 | 防錆塗装 |
| ③ | 把手 | SS400 | 溶融亜鉛めっき |
| ④ | 鎖 | SWRM | 溶融亜鉛めっき(MB-2、-3) |
開閉用具
| 画像 | 品番 | 名称 | 定価 | 承認図 | 備考 |
|---|---|---|---|---|---|
大阪本社
TEL
06-6541-2924(代)
東京支店
TEL
03-3831-2646(代)
中部営業所
TEL
059-364-2631(代)
九州営業所
TEL
0942-87-2924(代)

マンホールカバー
フロアハッチ、マシンハッチ
タラップ、丸環
グレーチング
ピットカバー
ルーフドレイン
上水道用ボックス
排水器具
阻集器(Gトラップ等)・吊会所桝
グリーンメイト(樹木保護蓋)
グリーンホルダー(樹木保護支柱)
車止め
ライナーエッジ