FPN型
| 品番 | FPN |
|---|---|
| 種類 | 排水用 |
| 材質 | ステンレス鋼 |
| 用途 | 側溝用 |
| 規格 | |
| 備考 | 滑止 |
| 注記 |
製品説明
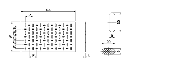
外形寸法図・部品名称表

型式寸法表〔単位mm・開口面積mm2〕
| 型式 | 適用溝幅 | W | t | P | P' | 開口面積mm2 |
|---|---|---|---|---|---|---|
| FPN-103 | 50用 | 79 | 3 | 70 | - | 3031 |
| FPN-104 | 50用 | 79 | 4 | 70 | - | 3031 |
| FPN-123 | 70用 | 99 | 3 | 76 | 16 | 3031 |
| FPN-124 | 70用 | 99 | 4 | 76 | 16 | 3031 |
| FPN-153 | 100用 | 129 | 3 | 70 | 46 | 3031 |
| FPN-154 | 100用 | 129 | 4 | 70 | 46 | 3031 |
| FPN-183 | 130用 | 159 | 3 | 70 | 38 | 5052 |
| FPN-184 | 130用 | 159 | 4 | 70 | 38 | 5052 |
| FPN-203 | 150用 | 179 | 3 | 70 | 48 | 5052 |
| FPN-204 | 150用 | 179 | 4 | 70 | 48 | 5052 |
| FPN-253 | 200用 | 229 | 3 | 70 | 36.5 | 8335 |
| FPN-254 | 200用 | 229 | 4 | 70 | 36.5 | 8335 |
| FPN-303 | 250用 | 279 | 3 | 70 | 32.5 | 11619 |
| FPN-304 | 250用 | 279 | 4 | 70 | 32.5 | 11619 |
| FPN-354 | 300用 | 329 | 4 | 70 | 41 | 11619 |
| FPN-404 | 350用 | 379 | 4 | 70 | 37 | 14903 |
| FPN-454 | 400用 | 429 | 4 | 70 | 43 | 14903 |
| FPN-504 | 450用 | 479 | 4 | 70 | 39.5 | 18187 |
部品名称表
| 番号 | 部品名称 | 材質 | 表面処理・備考 |
|---|---|---|---|
開閉用具
| 画像 | 品番 | 名称 | 定価 | 承認図 | 備考 |
|---|---|---|---|---|---|
大阪本社
TEL
06-6541-2924(代)
東京支店
TEL
03-3831-2646(代)
中部営業所
TEL
059-364-2631(代)
九州営業所
TEL
0942-87-2924(代)

マンホールカバー
フロアハッチ、マシンハッチ
タラップ、丸環
グレーチング
ピットカバー
ルーフドレイン
上水道用ボックス
排水器具
阻集器(Gトラップ等)・吊会所桝
グリーンメイト(樹木保護蓋)
グリーンホルダー(樹木保護支柱)
車止め
ライナーエッジ